Toggle navigation
最新消息
線上論壇
考古題
常見問題
帳號申請
忘記密碼
題庫分類
公職考試
鐵路特考
高普考
初等五等
地方特考(三、四等)
一般/警察特考
司法特考
移民特考
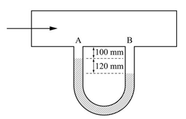
關務特考
民航特考
調查局
海巡特考
稅務特考/國稅局約僱人員
身障特考
外交特考
機關就業
經濟部國營事業聯合招考
臺鐵公司
捷運公司
台電新進雇員
自來水公司評價人員
中油公司
中鋼公司
中華郵政
中華電信
臺灣菸酒
臺灣港務
臺鐵營運人員
農會
漁會
農田水利
環保局清潔隊員、稽查員
公路監理
台糖
臺北自來水
經濟部工業局
公幼教保人員
證券類
證券商業務員
證券商高級業務員
期貨商業務員
投信投顧業務員
企業內部控制
股務人員
票券商業務員
證券分析師
金融市場常識與職業道德
債券人員
銀行類
NEW!!! 高齡金融規劃顧問師資格測驗
金融人員基礎學科測驗(FIT)
金融科技力知識證照
理財規劃人員證照
信託業務人員證照
銀行內部控制與內部稽核證照(一般金融)
初階授信人員證照
初階外匯人員證照
銀行內部控制與內部稽核證照(消費金融)
公民銀行招考(一般金融組)
公民銀行招考(共同科目)
公民銀行招考(儲備人員)
公民銀行招考(工員)
證照類
導遊領隊人員
不動產經紀人
地政士
消防設備人員
門市服務丙級技術士
保險類
投資型保險業務員
人身保險代理人
財產保險經紀人
財會類
記帳士
會計事務技術士乙級
中小企財務人員
會計事務技術士丙級
國貿類
國貿業務技術士乙級
國貿大會考
國貿業務技術士丙級
專責報關人員
兩岸暨東協經貿商務人才
升學考試
警專正期班
四技二專
升大分科測驗
模擬考試
警專正期班第36期線上模擬考試(完整版)
警專考試能力測驗分析
軍事考試
軍事考試
中油公司 » 專業科目 » 模擬題庫 » 煉製類、安環類 » 化工裝置模擬試題
單選題
每題2分
1. 下列有關粒徑分布的敘述,何者
錯誤
?
(A)篩析時,篩網依網號(mesh number)大小由上而下疊置
(B)泰勒(Tyler)標準篩100號係指每一吋篩網邊長具有100個篩孔
(C)光學顯微鏡可測定微米級粒徑
(D)沉降法係利用粒子大小差異造成沉降速度不同來測定粒徑分布。
2. 下列有關管的敘述何者正確?
【1】依製管材料,可分成鐵金屬管、非鐵金屬管、非金屬管等三類
【2】依製管方法,可分成管(pipe)、抽製管(tube)、軟管(hose)等三類
【3】鋼管大小一般以公稱管徑(nominal pipe diameter)表示,公稱管徑相同的鋼管的內徑皆相同
【4】鋼管管號(schedule number)愈大,管壁愈厚
【5】一般使用的80號鋼管稱為標準管
【6】抽製管的管壁厚度以規號(gauge number)規定,規號愈小者管壁愈薄
(A)【1】【3】
(B)【5】【6】
(C)【3】【6】
(D)【2】【4】。
3. 在20˚C時,氧氣溶於水中之亨利常數(Henry's constant)為4.01×10
4
atm/莫耳分率,求曝露於2atm,20˚C空氣中,水之飽和溶氧濃度約為多少mg/L?(已知空氣中含氧的莫耳分率為0.21,氧原子量16,氮原子量14,氫原子量1)
(A)6.4
(B)11.8
(C)18.7
(D)20.5。
4. 在熱風乾燥實驗中,濕羊毛料50kg與相對濕度為30%之25˚C氣流長期接觸後變為43.6kg,再將羊毛料置入120˚C之烘箱內加熱至完全乾燥時,其重量為40kg。試問乾燥前濕羊毛在相對濕度30%,25˚C之自由含水率為多少kg水/kg乾固體?
(A)0.09
(B)0.16
(C)0.2
(D)0.25。
5. 利用玻璃球作為填料,填充一固定床,床體的整體密度(bulk density)約1.06g.cm
-
3
,已知玻璃顆粒密度(particle density)是2.20g.cm
-
3
,試問床體的空隙度(porosity)為何?
(A)0.620
(B)0.518
(C)0.482
(D)0.212。
6. 下列有關混合程序的敘述,何者
錯誤
?
(A)乳化(emulsification)是指進行兩種互溶液體之間的混合
(B)化學工廠進行混合操作,可促進物料之均勻分布,有利於物理或化學操作
(C)影響混合效果的因素包含物料之黏度、比重、表面張力等
(D)固體與固體粉粒之混合,稱為摻合(blending)。
7. 一正方形蓄水池,內側每邊10m,池底有一圓管出水口,出水口內徑為20cm,已知水的液面高4.9m,若不考慮磨擦因素,請問每分鐘的流率約為多少m
3
?(π≒3.1416)
(A)0.31m
3
(B)36.94m
3
(C)18.47m
3
(D)73.88m
3
。
8. 100公升的水中含有80公克碘,利用150公升四氯化碳進行一次萃取,萃取後,若100公升水萃餘相含有10公克碘,則碘對四氯化碳與水的分配係數(K=
)為何?
(A)3.33
(B)3.67
(C)4.33
(D)4.67。
9. 下列何種蒸發器可獲得較高的總包熱傳係數及可加裝結晶濾除器,以防止濃縮液的提前結晶?
(A)強制循環蒸發器
(B)長管蒸發器
(C)短管蒸發器
(D)攪拌膜蒸發器。
10. 對於流體輸送裝置的敘述,下列何者正確?
(A)離心泵適合輸送易汽化之液體
(B)往復泵輸送流體不會有脈動現象
(C)旋轉泵適合輸送高黏度之液體
(D)所產生氣壓大小,壓縮機>風扇>鼓風機。
11. 已知一精餾塔於穩態操作時,進料中成分A的流量為600mol/hr,若其塔底產物中成分A的流量為9mol/min,則塔頂產物中成分A的流量為何?
(A)609 mol/hr
(B)5.0 mol/min
(C)591 mol/hr
(D)1.0 mol/min。
12. 有三層平板材料,如圖所示,各表面(或界面)溫度分別為T
1
=100˚C、T
2
=80˚C、T
3
=70˚C、T
4
=30˚C,若傳熱已達恆穩狀態,則各層平板材料導熱係數之比值(k
A
:k
B
:k
C
)為何?
(A)1:2:4
(B)2:1:7
(C)4:7:1
(D)1:4:2。
13. 有關熱交換器之敘述,下列哪些正確?
【1】當雙套管熱交換器以飽和水蒸汽作為熱媒且出、入口的溫度相同時,逆流操作之傳熱效果較順流操作佳
【2】1-2殼管熱交換器,管側流體為單管程,殼側流體為二殼程流動
【3】螺旋板熱交換器具有單位體積傳熱面積大之特點
【4】板式熱交換器常用於須快速加熱或冷卻之情況
【5】夾套及盤管熱交換器常用於工業上之反應器,可用於控制反應溫度
(A)【1】【2】【4】
(B)【1】【3】【5】
(C)【2】【3】【5】
(D)【3】【4】【5】。
14. 填充塔內氣液逆流之單位高度壓力降
與氣體質量速度G
y
之對數關係如圖所示,其中,G
x1
和G
x2
為液體質量速度,下列關於填充吸收塔操作的敘述,何者正確?
(A)較佳之液體流速約為氾溢(流)速度(flooding velocity)的50%~75%
(B)較佳之氣體流速約為負載速度(loading velocity)的50%~75%
(C)G
x1
>G
x2
;且點A為氾溢(流)點(flooding point),點B為負載點(loading point)
(D)G
x1
>G
x2
;且點A為負載點,點B稱為氾溢(流)點。
15. 有兩根相同管長不同直徑的水平圓管(管1和管2),將水各別輸送流過兩根圓管時,其進出口壓力降相等,假設摩擦係數相同,並忽略管子之入口及出口效應以及入口摩擦損失。若兩根圓管直徑的關係為D
1
=1.5D
2
,則此時流經兩管之水流體積流率(
、
)的關係,下列何者正確?(1.5
0.5
=1.225)
(A)
(B)
(C)
(D)
。
16. 密度為1.0g/cm
3
的水自開放式儲水槽中,經由內直徑為0.01m之10m長圓管排至大氣中,出水口距離液面高度差為1.5m,如圖所示,假設排水時儲水槽液面降低量可忽略,每公尺輸水管的摩擦損失(h
f
)為0.4 m
2
/s
2
.m,每一個彎管的摩擦損失(
)為0.9 m
2
/s
2
,則圓管排出口之平均流速應為多少m/s?
(A)3.0
(B)4.0
(C)5.5
(D)6.0。
17. 下列有關固體性質的敘述,何者正確?
【1】礦石的硬度大小順序,石英>方解石>滑石
【2】一特定材料之固體粉末其粒徑愈大,比表面積愈小
【3】符合史托克斯定律的條件下,若粒徑變為兩倍,粒子之終端速度變為原來之四倍
【4】泰勒標準篩其網目數愈大,篩網孔徑也愈大
【5】一容器中含有乾燥之粒狀物料,則其整體密度大於顆粒密度
(A)【1】【2】【3】
(B)【1】【3】【5】
(C)【2】【3】【4】
(D)【3】【4】【5】。
18. 球磨機(ball mill)是工業界中常用的固體減積裝置,主體是一可旋轉的中空圓筒,筒內填充磨球。請問比較適當的磨球量應佔整個筒內體積多少百分比?
(A)0~10%
(B)15~25%
(C)30~50%
(D)60~80%。
19. 下列關於乾燥裝置的敘述,何者正確?
【1】噴霧乾燥器適合應用於奶粉或洗衣粉之製造
【2】冷凍乾燥器適合應用於蛋白質藥物之製造
【3】流體化乾燥器適合應用於食品或化妝品之製造
【4】紅外線乾燥器適合應用於汽車表面塗裝之乾燥
【5】旋轉乾燥器適合應用於穀物之乾燥
(A)【1】【2】【3】
(B)【2】【3】【4】
(C)【1】【2】【4】【5】
(D)【1】【2】【3】【4】。
20. 一液體混合槽內側加裝四片寬度為槽徑1/12的檔板後,在相同的轉速下操作,下列有關加裝檔板對系統產生改變或影響的敘述,其中正確者為:
【1】破除槽內流體流動產生的渦旋現象(swirling)
【2】促進混合的效果
【3】增加攪拌轉軸所消耗的功率
(A)【1】【2】【3】
(B)僅【1】【2】
(C)僅【2】【3】
(D)僅【1】【3】。
21. 下列有關反應器的敘述,何者正確?
(A)旋轉式圓盤反應器最常用於含重金屬廢水之處理
(B)管式反應器適合用於反應速率慢、滯留時間長的氣相反應
(C)流體自反應床底部通入,使固體觸媒顆粒懸浮在流體中,稱為填充床式反應器
(D)批式操作反應器,反應過程中反應物與生成物濃度皆隨時間而改變。
22. 兩平板中間夾一塊與平板等面積且可忽略厚度之薄電熱板,其產生之熱能經兩側平板傳導散熱至大氣中,若系統達恆穩狀態,各部分溫度及平板厚度如圖所示,左邊平板導熱係數為右邊平板導熱係數的兩倍,假設平板組之兩側大氣溫度相等、左右兩側平板表面至大氣之熱傳送係數相等且平板邊緣無熱散失,則下列敘述何者正確?
(A)左邊平板熱流率為右邊平板熱流率之10倍
(B)左邊平板熱流率為右邊平板熱流率之20倍
(C)大氣溫度為20˚C
(D)大氣溫度為30˚C。
23. 有一順流進料雙效蒸發器,已知其第一效之經濟效益(蒸發出之溶劑量/耗用掉之蒸汽量)為0.8,若欲使整個蒸發器之經濟效益(η)(雙效蒸發器總共蒸發出之溶劑量/耗用掉之蒸汽量)達1.28,則其第二效蒸發器之經濟效益(第二效蒸發出之溶劑量/第一效蒸發出之溶劑量)須為多少?
(A)0.50
(B)0.55
(C)0.60
(D)0.65。
24. 在常溫下,下列常見物質的比熱,由大至小排列的順序,何者正確?
【1】鋁 【2】銅 【3】水 【4】水銀
(A)【1】【2】【3】【4】
(B)【2】【4】【1】【3】
(C)【3】【1】【2】【4】
(D)【4】【2】【1】【3】。
25. 混有硝酸、醋酸、硫酸的工業級廢酸,是具強烈腐蝕性液體,需要進行少量純化再利用,考慮使用蒸餾操作,下列何種蒸餾裝置最適用於此純化工作?
(A)驟沸蒸餾塔
(B)層板蒸餾塔
(C)簡單蒸餾裝置
(D)填充蒸餾塔。
26. 「溶液的沸點隨濃度的上升而上升,且與溶劑沸點成正比關係」,上述法則所指為下列何者?
(A)杜林法則
(B)亨利定律
(C)拉午耳定律
(D)傅利葉定律。
27. 若欲從蔗糖溶液製取粗大顆粒的蔗糖結晶,應該將蔗糖溶液的飽和度保持於何種狀態?
(A)介穩定區(meta-stable region)
(B)穩定區(stable region)
(C)未飽和區(unsaturated region)
(D)不穩定區(unstable region)。
28. 下列關於固體性質的敘述,何者正確?
【1】莫氏硬標值愈大表示物料硬度愈大
【2】密度3.0g/cm
3
,直徑2.0cm的圓球體,其比表面積為1.0cm
2
/g
【3】陶瓷固體的密度為5.0g/cm
3
,將其填充於一填充塔後的整體密度為3.0g/cm
3
,填充塔內陶瓷顆粒間的空隙度為0.4
【4】石英的硬度高於金剛石
【5】固體顆粒堆積後,顆粒間的空隙度會影響填充床整體密度。若空隙度愈大,其整體密度愈大
(A)【1】【2】【3】
(B)【2】【3】【4】
(C)【3】【4】【5】
(D)【1】【3】【5】。
29. 流體以紊流形式流經一管路,若在其他條件保持不變的情況下,下列敘述何者
錯誤
?
(A)流速越快,摩擦損失越大
(B)流速越快,摩擦係數越大
(C)管壁的相對粗糙度越大,摩擦係數越大
(D)管件的相當管長越長,摩擦損失越大。
30. 在雙套管熱交換器中,以海水將流率為0.5 kg·s
-
1
之熱水降溫,熱水溫度從95˚C降至30˚C,海水溫度從11˚C升溫至25˚C,兩者以逆流方式進行熱交換,熱水比熱為4.2 kJ·kg
-
1
·K
-
1
,海水比熱為3.9 kJ·kg
-
1
·K
-
1
,則海水之流率為多少kg·s
-
1
?
(A)1.0
(B)1.5
(C)2.0
(D)2.5。
31. 若有圖所示水平方向由點1往點2流動的水輸送系統,所使用的圓管管徑皆一致,管a、b及c的高度也一樣,點1及點2位置的流速分別為v
1
及v
2
,試問下列敘述何者正確?
(A)若管線無摩擦損失,流體在a、b、c管中的流速皆為v
1
/3
(B)若管線有摩擦損失,則流體在a、b、c管中的流速皆會小於v
2
/3
(C)若管線有摩擦損失,則流體在點1的壓力會因摩擦損失而小於點2的壓力
(D)當流體沒有流動時,流體在點2的壓力為b管中任何一點壓力的3倍。
32. 酒精(比重=0.8、黏度=1.2cP)在一直徑6.0cm圓管中以4.0cm/s的流速流動,試問范寧摩擦係數(Fanning friction factor)為多少?
(A)0.01
(B)0.05
(C)0.1
(D)0.5。
33. 一連續式蒸餾塔每小時進料100莫耳之苯-甲苯混合溶液(苯為40莫耳,甲苯為60莫耳),假設塔內各板皆為理想板,塔頂出料之飽和蒸氣溫度為83.5˚C,壓力為101.3 kPa(溫度-莫耳分率組成圖如圖所示),塔底產物含甲苯90 mol %,則下列何者正確?
(A)塔頂產物流率為20.5 mol·h
-
1
(B)塔底產物流率為62.5 mol·h
-
1
(C)塔底產物的莫耳流率為塔頂產物莫耳流率的2.5倍
(D)塔頂產物含苯為80mol %。
34. 下列有關混合操作的敘述,何者正確?
【1】V型摻合機適用於奶粉、糖與杏仁粉之混合
【2】轉輪混合機適合醫藥品、染料等粉末之混合
【3】轉輪混合機適合黏土的混練
【4】螺旋槳攪拌機適用於麵糰的捏揉
【5】混合輥輪機適合於油漆的調合
(A)【1】【2】【4】
(B)【1】【3】【5】
(C)【2】【4】【5】
(D)【3】【4】【5】。
35. 麩胺酸鈉俗稱味精或味素,在結晶過程,可依照顧客喜好,做成立方形狀顆粒或菱形針狀顆粒。結晶操作過程利用特定條件控制晶體外形,這種晶體成長的習性,稱為什麼?
(A)晶系
(B)晶殼
(C)晶析
(D)晶癖。
36. 下列有關閥之敘述,何者正確?
(A)止回閥(Check valve)用於控制流體流動之開關
(B)在全開狀態下,閥之摩擦損失大小關係:針閥(Needle valve)>閘閥(Gate valve)>角閥(Angle valve)
(C)相較蝶型閥(Butterfly valve),角閥(Angle valve)更適合用於帶顆粒漿狀流體之流動調節
(D)在調節流體流量方面,球形閥(Globe valve)較球塞閥(Ball valve)適合。
37. 下列有關蒸餾操作的敘述,何者
錯誤
?
(A)回流比提高可以降低所需的理論板數
(B)進料板以下的部分稱為增濃段,使高沸點成份的濃度往下逐板提高
(C)萃取蒸餾可以提高原溶液的相對揮發度,消除共沸現象
(D)熱敏感的物質適合以真空蒸餾方式進行。
38. 以離心泵將地面儲水槽內自來水送至樓高134公尺建築物之樓頂,質量流率為1.2kg s
-
1
。假設輸水管路為單一直管,管長為134公尺,每公尺管長的摩擦損失為0.2J kg
-
1
,若僅考慮位能變化及直管摩擦損失,忽略壓力變化、動能變化及其他管路摩擦損失,泵效率為0.7,則離心泵的制動功率為多少瓦特(W)?(重力加速度:9.8m s
-
2
)
(A)32.16
(B)1608
(C)2297
(D)2576。
39. 流體流經一管件所造成的機械能損失,相當於同一流體以相同流速流經若干長度所造成的機械能損失,此長度稱為該管件的相當管長。若某流體流經下列管件時,何者的相當管長對管路內直徑之比值最大?
(A)半開閘閥
(B)半開球閥
(C)全開閘閥
(D)90°肘管。
40. 關於泵的敘述,下列何者正確?
(A)往復泵會有氣結現象(air binding)發生
(B)離心泵輸送流體會有脈動現象
(C)氣升泵屬正排量泵
(D)單泵常用於高黏度流體之輸送。
41. 下列有關熱傳導(thermal conduction)的敘述,何者
錯誤
?
(A)熱傳導係數愈大者,愈容易傳導熱量
(B)一般而言,金屬的熱傳導係數大於非金屬的熱傳導係數
(C)單方向恆穩態熱傳導所造成之熱流通量與熱傳方向的溫度梯度成反比
(D)聚苯乙烯發泡體具有隔熱效果。
42. 如圖,逆流進料(backward feeding)三效蒸發器操作過程中,各效之壓力(P)、溫度(T)及濃度(C)之大小順序為何?
(A)P
1
>P
2
>P
3
;T
1
>T
2
>T
3
;C
1
>C
2
>C
3
(B)P
1
<P
2
<P
3
;T
1
<T
2
<T
3
;C
1
<C
2
<C
3
(C)P
1
>P
2
>P
3
;T
1
<T
2
<T
3
;C
1
<C
2
<C
3
(D)P
1
<P
2
<P
3
;T
1
>T
2
>T
3
;C
1
>C
2
>C
3
。
43. 一燃燒爐之爐壁由30cm厚的耐火材料(熱傳導係數為0.075 kcal/(hr.m.˚C))及10cm絕熱材料(熱傳導係數為0.005 kcal/(hr.m.˚C))建造而成,若燃燒爐內壁溫度為1000˚C,外壁溫度為40˚C,則耐火材料與絕熱材料交界面的溫度為多少˚C?
(A)200
(B)420
(C)630
(D)840。
44. 填充塔常用來進行吸收操作,優良填料應具備哪些性質?
【1】單位體積的表面積要大
【2】填料層內,空隙體積小
【3】耐腐蝕,耐高溫
【4】表面粗糙,易被潤濕
【5】比重大,機械強度好
【6】表面緊密
(A)【1】【3】【4】
(B)【2】【4】【5】
(C)【3】【5】【6】
(D)【1】【2】【6】。
45. 下列關於帶式運送機的敘述,何者正確?
(A)適合爬升坡度高的固體輸送
(B)裝載角大於靜止角
(C)裝載量與物料流動性無關
(D)維護費用低,消耗功率小。
46. 關於吸收操作的敘述,下列何者正確?
【1】吸收是以氣體為溶劑,和液體混合物接觸,將液體中某一成分溶出的一種分離操作
【2】氣體溶質在液體中的溶解度隨該氣體壓力的下降而增加
【3】低揮發性是吸收劑的選擇原則之一
【4】填充塔適用於吸收劑中含有固體顆粒之吸收操作
【5】填料主要功能是提供氣液兩相接觸所需的表面積
(A)【3】【5】
(B)【2】【5】
(C)【3】【4】
(D)【1】【2】。
47. 下列單位轉換關係,何者正確?
(A)100˚C=323K
(B)1.0ℓb(磅力=98N(牛頓))
(C)1.0kW‧h(千瓦小時)=36×10
3
kJ(千焦耳)
(D)1.0kg‧s
-
1
m
-
2
=0.42ℓb‧s
-
1
‧ft
-
2
。
48. 有一由1.0mm及1.2mm兩種粒徑、密度相同之球形顆粒混合而成之物料,擬以一高黏度、密度略小於顆粒密度之油料,將此物料之兩種顆粒分離。此混合顆粒物料由一管柱上方置入,油料以層流方式由管柱下方向上流動,顆粒於油料中之沉降適用史托克斯定律,粒徑1.0mm之顆粒在靜止油料中之終端速度為0.5mm·s
-
1
,油料向上流速擬採兩種顆粒於靜止油料終端速度之平均值,則此油料流速為多少mm·s
-
1
?
(A)0.55
(B)0.57
(C)0.59
(D)0.61。
49. 對於混合裝置的敘述,下列何者
錯誤
?
(A)三輥輪混合機(或稱三滾筒機)的三支輥輪須保持相同轉速
(B)螺旋槳攪拌機屬於軸流式攪拌機
(C)槳式攪拌機屬於徑流式攪拌機
(D)V型摻合機適合於乾鬆物料混合。
50. 中央氣象局報導臺北市天氣,氣溫24~27˚C,濕度83%,此濕度是:
(A)絕對濕度
(B)飽和濕度
(C)百分濕度
(D)相對濕度。